本页导航
            
            广告链接
            
                
                
                
                
                
            
        
        锥齿轮支承结构
| 支承方式 | 简 图 | 特点与应用 | 结构参数与轴承配置 | ||
|---|---|---|---|---|---|
| 小齿轮 | 大齿轮 | ||||
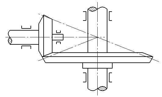
| 悬臂式 | 悬臂式 |   | 支承刚性差,但结构简单,装拆方便。用于一般中、轻载传动 | 悬臂式 | 轴承距离L≥2a 且L>0.7d 轴 径D>a 轴 挠 度y<0.025mm 轴承应采用轴套装入机壳内(附图1),便于调整。圆锥滚子轴承应背靠背布置,以增大轴承支反力作用点间的距离,提高轴的刚度。曲线齿和斜齿锥齿轮正反转时可能产生两个方向的轴向力,因此,需有两个方向的轴向锁紧(附图2) | 
| 悬臂式 | 简支式 |   | 支承刚性好,结构较复杂,装拆较繁。多用于中、轻载传动,尤其是径向力Fr2>Fr1(不计方向)的情况 | ||
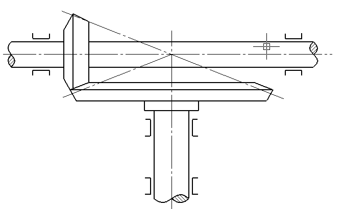
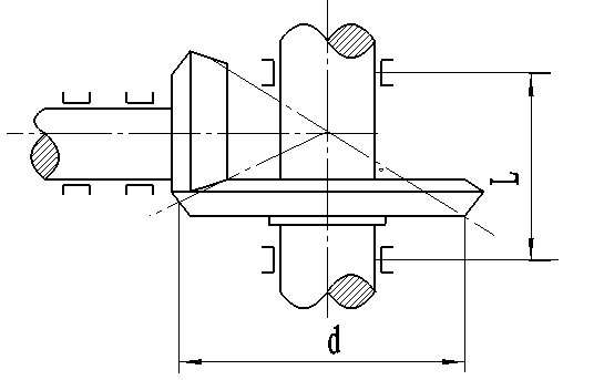
| 简支式 | 悬臂式 |   | 支承刚性好,结构较复杂,装拆较繁。多用于中、轻载传动,尤其是径向力Fr1>Fr2(不计方向)的情况 | 简支式 | 轴承距离L>0.7d但应紧凑 轴 挠 度y<0.025mm 小齿轮一端通常采用径向轴承支承径向力,而另一端轴承支承径向力和轴向力(附图3)。轴承可直接装入机壳内或用轴套装入机壳。大齿轮宜用面对面布置的圆锥滚子轴承(附图4),以减小轴承支反力作用点间的距离,增加轴的刚度。轴承的距离应足够大,以供给调整齿轮用的空间。曲线齿和斜齿锥齿轮同样需要有两个方向的轴向锁紧 | 
| 简支式 | 简支式 |   | 支承刚性最好,结构复杂,装拆不便。用于重载和冲击大的传动 | ||
附图1
 
            附图2
 
            附图3
 
            附图4
 
             
                