V带轮(摘自机械设计手册)
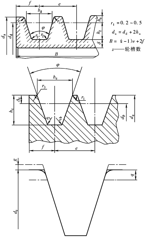
轮槽截面尺寸
|
轮槽截面尺寸 mm |
||||||||||||||||||||||||||||
|---|---|---|---|---|---|---|---|---|---|---|---|---|---|---|---|---|---|---|---|---|---|---|---|---|---|---|---|---|
|
|
||||||||||||||||||||||||||||
|
普通V 带轮和 窄V带 轮(基 准宽 度制) (摘自 GB/T 10412 —2002) |
槽 型 |
基准 宽度 bd |
ha min |
hf min |
槽间距e |
f min |
δ min |
r2 |
dd min |
带轮槽角φ/(°)±0.5° |
||||||||||||||||||
|
普通V 带轮 |
窄V 带轮 |
基本 值 |
极限 偏差 |
累积 极限 偏差 |
32 |
34 |
36 |
38 |
||||||||||||||||||||
|
基准直径dd |
||||||||||||||||||||||||||||
|
Y |
— |
5.3 |
1.6 |
4.7 |
8 |
±0.3 |
±0.6 |
6 |
5 |
0.5~ 1.0 |
20 |
≤60 |
— |
>60 |
— |
|||||||||||||
|
Z
|
SPZ |
8.5 |
2 |
7 9 |
12 |
±0.3 |
±0.6 |
7 |
5.5 |
50 63 |
— |
≤80 |
— |
>80 |
||||||||||||||
|
A
|
SPA |
11 |
2.75 |
8.7 11 |
15 |
±0.3 |
±0.6 |
9 |
6 |
75 90 |
— |
≤118 |
— |
>118 |
||||||||||||||
|
B |
SPB |
14 |
3.5 |
10.8 14 |
19 |
±0.4 |
±0.8 |
11.5 |
7.5 |
125 140 |
— |
≤190 |
— |
>190 |
||||||||||||||
|
C |
SPC |
19 |
4.8 |
14.3 19 |
25.5 |
±0.5 |
±1 |
16 |
10 |
1.0~ 1.6 |
200 224 |
— |
≤315 |
— |
>315 |
|||||||||||||
|
D |
— |
27 |
8.1 |
19.9 |
37 |
±0.6 |
±1.2 |
23 |
12 |
1.6~ 2.0 |
355 |
— |
— |
≤475 |
>475 |
|||||||||||||
|
E |
— |
32 |
9.6 |
23.4 |
44.5 |
±0.7 |
±1.4 |
28 |
15 |
500 |
— |
— |
≤600 |
>600 |
||||||||||||||
|
窄V带 轮(有 效宽 度制) (摘自 GB/T 10413 —2002) |
槽型 |
有效 宽度 be |
槽顶 最大 增量 g |
槽顶 弧最 大深 度q |
有效 线差 Δe |
槽深 hc min |
槽间距e |
轮槽 与端 面距 离f min |
r3 |
de min |
带轮槽角φ/(°)±0.5° |
|||||||||||||||||
|
基本 值 |
极限 偏差 |
累积 极限 偏差 |
36 |
38 |
40 |
42 |
||||||||||||||||||||||
|
基准直径de |
||||||||||||||||||||||||||||
|
9N/J |
8.9 |
0.2 |
0.3 |
0.6 |
8.9 |
10.3 |
±0.25 |
±0.5 |
9 |
1~2 |
67 |
de≤90 |
90<de ≤150 |
150<de ≤300 |
de>300 |
|||||||||||||
|
15N/J |
15.2 |
0.25 |
0.4 |
1.3 |
15.2 |
17.5 |
±0.25 |
±0.5 |
13 |
2~3 |
180 |
— |
de≤250 |
250<de ≤400 |
de>400 |
|||||||||||||
|
25N/J |
25.4 |
0.3 |
0.5 |
2.5 |
25.4 |
28.6 |
±0.4 |
±0.8 |
19 |
3~5 |
315 |
— |
de≤400 |
400<de ≤560 |
de>560 |
|||||||||||||
|
注:1.表中δ、r1、r2及r3尺寸标准中未作规定,仅供设计参考。 2.Δe能够趋近于零。 3.轮槽截面直边尺寸应不小于de-2q。 |
||||||||||||||||||||||||||||
普通和窄V带轮(基准宽度制)直径系列
|
普通和窄V带轮(基准宽度制)直径系列 mm |
||||||||||||||||||||||||||||||||
|---|---|---|---|---|---|---|---|---|---|---|---|---|---|---|---|---|---|---|---|---|---|---|---|---|---|---|---|---|---|---|---|---|
|
基准 直径 dd |
槽 型 |
基准 直径 dd |
槽 型 |
基准 直径 dd |
槽 型 |
|||||||||||||||||||||||||||
|
Y |
Z |
A |
B |
Z |
A |
B |
C |
D |
Z |
A |
B |
C |
D |
E |
||||||||||||||||||
|
外径da |
外径da |
外径da |
||||||||||||||||||||||||||||||
|
普通V带带轮(GB/T 10412—2002、GB/T 13575.1—1992) |
||||||||||||||||||||||||||||||||
|
20 |
23.2 |
|
|
|
132 |
136 |
137.5 |
139 |
|
|
500 |
504 |
505.5 |
507 |
509.6 |
516.2 |
519.2 |
|||||||||||||||
|
22.4 |
25.6 |
|
|
|
140 |
144 |
145.5 |
147 |
|
|
530 |
— |
— |
— |
— |
— |
549.2 |
|||||||||||||||
|
25 |
28.2 |
|
|
|
150 |
154 |
155.5 |
157 |
|
|
560 |
— |
565.5 |
567 |
569.6 |
576.2 |
579.2 |
|||||||||||||||
|
28 |
31.2 |
|
|
|
160 |
164 |
165.5 |
167 |
|
|
600 |
— |
— |
607 |
609.6 |
616.2 |
619.2 |
|||||||||||||||
|
31.5 |
34.7 |
|
|
|
170 |
— |
— |
177 |
|
|
630 |
634 |
635.5 |
637 |
639.6 |
646.2 |
649.2 |
|||||||||||||||
|
35.5 |
38.7 |
|
|
|
180 |
184 |
185.5 |
187 |
|
|
670 |
|
— |
— |
— |
— |
689.2 |
|||||||||||||||
|
40 |
43.2 |
|
|
|
200 |
204 |
205.5 |
207 |
209.6 |
|
710 |
|
715.5 |
717 |
719.6 |
726.2 |
729.2 |
|||||||||||||||
|
45 |
48.2 |
|
|
|
212 |
— |
— |
— |
221.6 |
|
750 |
|
— |
757 |
759.6 |
766.2 |
— |
|||||||||||||||
|
50 |
53.2 |
54 |
|
|
224 |
228 |
229.5 |
231 |
233.6 |
|
800 |
|
805.5 |
807 |
809.6 |
816.2 |
819.2 |
|||||||||||||||
|
56 |
59.2 |
60 |
|
|
236 |
— |
— |
— |
245.6 |
|
900 |
|
|
907 |
909.6 |
916.2 |
919.2 |
|||||||||||||||
|
63 |
66.2 |
67 |
|
|
250 |
254 |
255.5 |
257 |
259.6 |
|
1000 |
|
|
1007 |
1009.6 |
1016.2 |
1019.2 |
|||||||||||||||
|
71 |
74.2 |
75 |
|
|
265 |
— |
— |
— |
274.6 |
|
1060 |
|
|
— |
— |
1076.2 |
— |
|||||||||||||||
|
75 |
— |
79 |
80.5 |
|
280 |
284 |
285.5 |
287 |
289.6 |
|
1120 |
|
|
1127 |
1129.6 |
1136.2 |
1139.2 |
|||||||||||||||
|
80 |
83.2 |
84 |
85.5 |
|
300 |
— |
— |
— |
309.6 |
|
1250 |
|
|
|
1259.6 |
1266.2 |
1269.2 |
|||||||||||||||
|
85 |
— |
— |
90.5 |
|
315 |
319 |
320.5 |
322 |
324.6 |
|
1400 |
|
|
|
1409.6 |
1416.2 |
1419.2 |
|||||||||||||||
|
90 |
93.2 |
94 |
95.5 |
|
335 |
— |
— |
— |
344.6 |
|
1500 |
|
|
|
— |
1516.2 |
1519.2 |
|||||||||||||||
|
95 |
— |
— |
100.5 |
|
355 |
359 |
360.5 |
362 |
364.6 |
371.2 |
1600 |
|
|
|
1609.6 |
1616.2 |
1619.2 |
|||||||||||||||
|
100 |
103.2 |
104 |
105.5 |
|
375 |
— |
— |
— |
— |
391.2 |
1800 |
|
|
|
— |
1816.2 |
1819.2 |
|||||||||||||||
|
106 |
— |
— |
111.5 |
|
400 |
404 |
405.5 |
407 |
409.6 |
416.2 |
1900 |
|
|
|
— |
— |
1919.2 |
|||||||||||||||
|
112 |
115.2 |
116 |
117.5 |
|
425 |
— |
— |
— |
— |
441.2 |
2000 |
|
|
|
2009.6 |
2016.2 |
2019.2 |
|||||||||||||||
|
118 |
— |
— |
123.5 |
|
450 |
— |
455.5 |
457 |
459.6 |
466.2 |
2240 |
|
|
|
|
|
2259.2 |
|||||||||||||||
|
125 |
128.2 |
129 |
130.5 |
132 |
475 |
— |
— |
— |
— |
491.2 |
2500 |
|
|
|
|
|
2519.2 |
|||||||||||||||
|
基准 直径 dd |
槽 型 |
基准 直径 dd |
槽 型 |
基准 直径 dd |
槽 型 |
基准 直径 dd |
槽 型 |
|||||||||||||||||||||||||
|
SPZ |
SPA |
SPZ |
SPA |
SPB |
SPC |
SPZ |
SPA |
SPB |
SPC |
SPA |
SPB |
SPC |
||||||||||||||||||||
|
外径da |
外径da |
外径da |
外径da |
|||||||||||||||||||||||||||||
|
窄V带轮(GB/T 10412—2002)) |
||||||||||||||||||||||||||||||||
|
63 |
67 |
|
132 |
136 |
137.5 |
|
|
280 |
284 |
285.5 |
287 |
289.6 |
710 |
715.5 |
717 |
719.6 |
||||||||||||||||
|
71 |
75 |
|
140 |
144 |
145.5 |
147 |
|
300 |
— |
— |
— |
309.6 |
750 |
— |
757 |
759.6 |
||||||||||||||||
|
75 |
79 |
|
150 |
154 |
155.5 |
157 |
|
315 |
319 |
320.5 |
322 |
324.6 |
800 |
805.5 |
807 |
809.6 |
||||||||||||||||
|
80 |
84 |
|
160 |
164 |
165.5 |
167 |
|
335 |
— |
— |
— |
344.6 |
900 |
|
907 |
909.6 |
||||||||||||||||
|
90 |
94 |
95.5 |
170 |
— |
— |
177 |
|
355 |
359 |
360.5 |
362 |
364.6 |
1000 |
|
1007 |
1009.6 |
||||||||||||||||
|
95 |
— |
100.5 |
180 |
184 |
185.5 |
187 |
|
400 |
404 |
405.5 |
407 |
409.6 |
1120 |
|
1127 |
1129.6 |
||||||||||||||||
|
100 |
104 |
105.5 |
200 |
204 |
205.5 |
207 |
|
450 |
— |
455.5 |
457 |
459.6 |
1250 |
|
|
1259.6 |
||||||||||||||||
|
106 |
— |
111.5 |
224 |
228 |
229.5 |
231 |
233.6 |
500 |
504 |
505.5 |
507 |
509.6 |
1400 |
|
|
1409.6 |
||||||||||||||||
|
112 |
116 |
117.5 |
236 |
— |
— |
— |
245.6 |
560 |
— |
565.5 |
567 |
569.6 |
1600 |
|
|
1609.6 |
||||||||||||||||
|
118 |
— |
123.5 |
250 |
254 |
255.5 |
257 |
259.6 |
600 |
— |
— |
607 |
609.6 |
2000 |
|
|
2009.6 |
||||||||||||||||
|
125 |
129 |
130.5 |
265 |
— |
— |
— |
274.6 |
630 |
634 |
635.5 |
637 |
639.6 |
|
|
|
|
||||||||||||||||
|
注:1.表中da=dd+2ha,ha见表轮槽截面尺寸。 2.表中“—”表示不选用。 |
||||||||||||||||||||||||||||||||
窄V带轮(有效宽度制)直径系列(GB/T10413-2002)
|
窄V带轮(有效宽度制)直径系列(GB/T 10413—2002) mm |
|||||||||||||||||||||
|---|---|---|---|---|---|---|---|---|---|---|---|---|---|---|---|---|---|---|---|---|---|
|
有效直径de |
槽 型 |
有效直径de |
槽 型 |
||||||||||||||||||
|
基本值 |
min |
9N/J |
15N/J |
基本值 |
min |
9N/J |
15N/J |
25N/J |
|||||||||||||
|
选用情况 |
demax |
选用情况 |
demax |
选用情况 |
demax |
选用情况 |
demax |
选用情况 |
demax |
||||||||||||
|
67 |
67 |
× |
71 |
|
|
315 |
315 |
×× |
320 |
×× |
322 |
×× |
320 |
||||||||
|
71 |
71 |
×× |
75 |
|
|
335 |
335 |
— |
— |
— |
— |
× |
340.4 |
||||||||
|
75 |
75 |
× |
79 |
|
|
355 |
355 |
× |
360.7 |
× |
362 |
×× |
360.7 |
||||||||
|
80 |
80 |
×× |
84 |
|
|
375 |
375 |
— |
— |
— |
— |
× |
381 |
||||||||
|
85 |
85 |
× |
89 |
|
|
400 |
400 |
×× |
406.4 |
×× |
407 |
×× |
406.4 |
||||||||
|
90 |
90 |
×× |
94 |
|
|
425 |
425 |
— |
— |
— |
— |
× |
431.8 |
||||||||
|
95 |
95 |
× |
99 |
|
|
450 |
450 |
× |
457.2 |
× |
457.2 |
×× |
457.2 |
||||||||
|
100 |
100 |
×× |
104 |
|
|
475 |
475 |
— |
— |
— |
— |
× |
482.6 |
||||||||
|
106 |
106 |
× |
110 |
|
|
500 |
500 |
×× |
508 |
×× |
508 |
×× |
508 |
||||||||
|
112 |
112 |
×× |
116 |
|
|
530 |
530 |
— |
— |
— |
— |
× |
538.5 |
||||||||
|
118 |
118 |
× |
122 |
|
|
560 |
560 |
× |
569 |
× |
569 |
×× |
569 |
||||||||
|
125 |
125 |
×× |
129 |
|
|
600 |
600 |
— |
— |
— |
— |
× |
609.6 |
||||||||
|
132 |
132 |
× |
136 |
|
|
630 |
630 |
× |
640.1 |
×× |
640.1 |
×× |
640.1 |
||||||||
|
140 |
140 |
×× |
144 |
|
|
710 |
710 |
× |
721.4 |
× |
721.4 |
× |
721.4 |
||||||||
|
150 |
150 |
× |
154 |
|
|
800 |
800 |
× |
812.8 |
×× |
812.8 |
×× |
812.8 |
||||||||
|
160 |
160 |
×× |
164 |
|
|
900 |
900 |
|
|
× |
914.4 |
× |
914.4 |
||||||||
|
180 |
180 |
× |
184 |
×× |
187 |
1000 |
1000 |
|
|
×× |
1016 |
×× |
1016 |
||||||||
|
190 |
190 |
— |
— |
× |
197 |
1120 |
1120 |
|
|
× |
1137.9 |
× |
1137.9 |
||||||||
|
200 |
200 |
×× |
204 |
×× |
207 |
1250 |
1250 |
|
|
×× |
1270 |
×× |
1270 |
||||||||
|
212 |
212 |
— |
— |
× |
219 |
1400 |
1400 |
|
|
× |
1422.4 |
× |
1422.4 |
||||||||
|
224 |
224 |
× |
228 |
×× |
231 |
1600 |
1600 |
|
|
× |
1625.6 |
×× |
1625.6 |
||||||||
|
236 |
236 |
— |
— |
× |
243 |
1800 |
1800 |
|
|
× |
1828.8 |
× |
1828.8 |
||||||||
|
250 |
250 |
×× |
254 |
×× |
257 |
2000 |
2000 |
|
|
|
|
×× |
2032 |
||||||||
|
265 |
265 |
— |
— |
× |
272 |
2240 |
2240 |
|
|
|
|
× |
2275.8 |
||||||||
|
280 |
280 |
× |
284.5 |
×× |
287 |
2500 |
2500 |
|
|
|
|
×× |
2540 |
||||||||
|
300 |
300 |
— |
— |
× |
307 |
|
|
|
|
|
|
|
|
||||||||
|
注:1.表中××表示优先选用;×表示可以选用;—表示不选用。 2.带轮有效直径是带轮的基本直径。由于仅需要正偏差,故最小有效直径等于基本有效直径。 3.由于米制和英制的差别,需要有+1.6%的公差,为使所有使用要求能够通过选择得到满足,最大有效直径在基本直径基础上增加以下尺寸:
|
|||||||||||||||||||||
带轮结构型式和辐板厚度
|
带轮结构型式和辐板厚度 mm |
|---|
|
|
带轮结构图例及材质
|
带轮结构图例和材质 |
|
|---|---|
|
d1=(1.8~2)d,L=(1.5~2)d,d2=da-2(ha+hf+δ),h2=0.8h1,a=0.4h1,a2=0.8a1 |
|
|
|
f1=0.2h1, f2=0.2h2,S1≥1.5S,S2≥0.5S |
|
式中 P—— 设计功率,kW;n—— 带轮转速,r/min;m—— 轮辐数。 带轮材质 υ<20m/s时,可用HT150;υ>25~30m/s时,可用HT200;υ>35m/s,直径较大、功率较大时用35钢或40钢;高速、小功率时可用工程塑料,批量大时,可用压铸铝合金或其他合金。 铸造带轮不允许有砂眼、裂纹、缩孔及气泡。 |
|
带轮的圆跳动公差t
|
带轮的圆跳动公差t mm |
||||||||||
|---|---|---|---|---|---|---|---|---|---|---|
|
|
普通V带轮(GB/T 10412—2002) |
|||||||||
|
dd或de |
|
dd或de |
|
dd或de |
|
|||||
|
≥20~100 ≥106~160 ≥170~250 |
0.2 0.3 0.4 |
≥265~400 ≥425~630 ≥670~1000 |
0.5 0.6 0.8 |
≥1060~1600 ≥1800~2500
|
1.0 1.2
|
|||||
|
基准宽度制窄V带轮(GB/T 10412—2002) |
||||||||||
|
63~100 106~160 170~250 |
0.2 0.3 0.4 |
265~400 450~630 710~1000 |
0.5 0.6 0.8 |
1120~1600 1800~2000
|
1 1.2
|
|||||
|
有效宽度制窄V带轮(GB/T 10413—2002) |
||||||||||
|
de |
径向圆 跳动t1 |
轴向圆 跳动t2 |
de |
径向圆 跳动t1 |
轴向圆 跳动t2 |
|||||
|
de≤125 |
0.2 |
0.3 |
1000<de≤1250 |
0.8 |
1 |
|||||
|
125<de≤315 |
0.3 |
0.4 |
1250<de≤1600 |
1 |
1.2 |
|||||
|
315<de≤710 |
0.4 |
0.6 |
1600<de≤2500 |
1.2 |
1.2 |
|||||
|
710<de≤1000 |
0.6 |
0.8 |
|
|
|
|||||
|
注:轴向圆跳动的测量位置见表轮槽截面尺寸图中的Δe处。 |
||||||||||
普通和窄V带轮(基准宽度制)轮槽尺寸公差(GB/T10412-2002)
|
普通和窄V带轮(基准宽度制)轮槽尺寸公差(GB/T 10412—2002) mm |
||
|---|---|---|
|
槽型 |
任意两个轮槽基准直径间的最大偏差 |
基准直径极限偏差 |
|
Y |
0.3 |
±0.8%dd |
|
Z、A、B、SPZ、SPA、SPB |
0.4 |
|
|
C、D、E、SPC |
0.6 |
|





