本页导航
广告链接
梯形齿同步带尺寸规格
同步带传动
同步带传动是由同步带与两个或多个同步带轮组成的啮合传动,其同步运动和(或)动力通过带齿与轮齿相啮合传递。
同步带传动具有齿轮传动、链传动和带传动的各种优点。传动比准确,无滑差,可获得恒定的速比,传动平稳,能吸震,噪声小,传动比范围大,传动效率高,传递功率从几瓦到数百千瓦,结构紧凑,适用于多轴传动,张紧力小,不需润滑,无污染,应用广泛。
同步带按齿形分为梯形齿和圆弧齿两类,梯形齿同步带应用较广,圆弧齿同步带因其承载能力和疲劳寿命高于梯形齿而应用日趋广泛。同步带按结构分为单面和双面同步带两种型式。双面同步带按齿的排列不同又分为对称齿双面同步带和交错齿双面同步带两种。
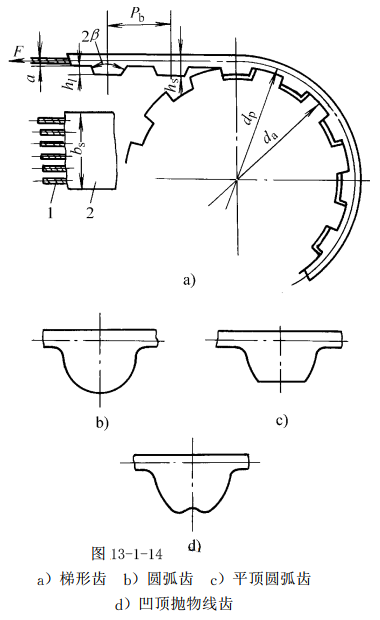
同步带最基本的参数是带齿节距pb (见图 13-1-14),带齿节距是在规定的张紧力下带的纵截面上相邻两齿对称中心线的直线距离;当带垂直其底边弯曲时,在带中保持原长不变的任意一条周线,其长度称为节线长Lp,为公称长度。
同步带传动具有齿轮传动、链传动和带传动的各种优点。传动比准确,无滑差,可获得恒定的速比,传动平稳,能吸震,噪声小,传动比范围大,传动效率高,传递功率从几瓦到数百千瓦,结构紧凑,适用于多轴传动,张紧力小,不需润滑,无污染,应用广泛。
同步带按齿形分为梯形齿和圆弧齿两类,梯形齿同步带应用较广,圆弧齿同步带因其承载能力和疲劳寿命高于梯形齿而应用日趋广泛。同步带按结构分为单面和双面同步带两种型式。双面同步带按齿的排列不同又分为对称齿双面同步带和交错齿双面同步带两种。
同步带最基本的参数是带齿节距pb (见图 13-1-14),带齿节距是在规定的张紧力下带的纵截面上相邻两齿对称中心线的直线距离;当带垂直其底边弯曲时,在带中保持原长不变的任意一条周线,其长度称为节线长Lp,为公称长度。
一般传动用同步带的物理性能(摘自GB/T 13487-2002)
| 带型 | 单位带宽抗拉强度/(N/mm) | 参考力/(N/mm) | 伸长率(%)≤ | 带背硬度(邵尔A型) | 包布粘合强度/(N/mm) | 芯绳粘合强度/(N/mm)≥ | 齿体抗剪强度/(N/mm)≥ |
|---|---|---|---|---|---|---|---|
| 梯形齿—XL | 80 | 60 | 4 | 75±5 | 5 | 200 | 50 |
| 梯形齿—L | 120 | 90 | 4 | 75±5 | 6.5 | 380 | 60 |
| 梯形齿—H | 270 | 220 | 4 | 75±5 | 8 | 600 | 70 |
| 梯形齿—XH | 380 | 300 | 4 | 75±5 | 10 | 800 | 75 |
| 梯形齿—XXH | 450 | 350 | 4 | 75±5 | 12 | 1500 | 90 |
| 圆弧齿—3M | 90 | 70 | 4 | 75±5 | — | — | — |
| 圆弧齿—5M | 160 | 130 | 4 | 75±5 | 6 | 400 | 50 |
| 圆弧齿—8M | 300 | 240 | 4 | 75±5 | 10 | 700 | 60 |
| 圆弧齿—14M | 400 | 320 | 4 | 75±5 | 12 | 1200 | 80 |
| 圆弧齿—20M | 520 | 410 | 4 | 75±5 | 15 | 1600 | 100 |
梯形齿同步带传动
梯形齿同步带是纵向截面为矩形或近似为矩形,工作表面具有等距横向梯形齿的同步带。
梯形齿同步带有两种尺寸制,节距制和模数制。节距制是以英寸制节距pb为准,我国现采用节距制。
单面梯形齿同步带的规格标记依次为长度代号、 型号、宽度代号、标准号。

对称式双面梯形齿同步带的型号标记应在单面梯形齿同步带型号前加DA,交叉式双面梯形齿同步带的型号标记应在单面梯形齿同步带型号前加DB,其余标记表示方法不变。
梯形齿同步带有两种尺寸制,节距制和模数制。节距制是以英寸制节距pb为准,我国现采用节距制。
单面梯形齿同步带的规格标记依次为长度代号、 型号、宽度代号、标准号。

梯形齿标准同步带的齿形尺寸(摘自GB/T 11616-2013)
注:本表的单位是mm。
①带型即节距代号,MXL──最轻型;XXL──超轻型;XL──特轻型;L──轻型;H──重型;XH──特重型;XXH──超重型。
②系单面带的带高。
| 带型① | 节距pb | 齿形角2β° | 齿根厚s | 齿高ht | 带高②hs | 齿根圆角半径rr | 齿顶圆角半径ra |
|---|---|---|---|---|---|---|---|
| MXL | 2.032 | 40 | 1.14 | 0.51 | 1.14 | 0.13 | 0.13 |
| XXL | 3.175 | 50 | 1.73 | 0.76 | 1.52 | 0.2 | 0.3 |
| XL | 5.08 | 50 | 2.57 | 1.27 | 2.3 | 0.38 | 0.38 |
| L | 9.525 | 40 | 4.65 | 1.91 | 3.6 | 0.51 | 0.51 |
| H | 12.7 | 40 | 6.12 | 2.29 | 4.3 | 1.02 | 1.02 |
| XH | 22.225 | 40 | 12.57 | 6.35 | 11.2 | 1.57 | 1.19 |
| XXH | 31.75 | 40 | 19.05 | 9.53 | 15.7 | 2.29 | 1.52 |
梯形齿同步带的节线长系列及极限偏差(摘自GB/T 11616-2013)
| 带长代号 | 节线长Lp/mm | 节线长上的齿数 | |||||||
|---|---|---|---|---|---|---|---|---|---|
| - | 基本尺寸 | 极限偏差 | MXL | XXL | XL | L | H | XH | XXH |
| 36 | 91.44 | ±0.41 | 45 | - | - | - | - | - | - |
| 40 | 101.6 | ±0.41 | 50 | - | - | - | - | - | - |
| 44 | 111.76 | ±0.41 | 55 | - | - | - | - | - | - |
| 48 | 121.92 | ±0.41 | 60 | - | - | - | - | - | - |
| 50 | 127 | ±0.41 | - | 40 | - | - | - | - | - |
| 56 | 142.24 | ±0.41 | 70 | - | - | - | - | - | - |
| 60 | 152.4 | ±0.41 | 75 | 48 | 30 | - | - | - | - |
| 64 | 162.56 | ±0.41 | 80 | - | - | - | - | - | - |
| 70 | 177.8 | ±0.41 | - | 56 | 35 | - | - | - | - |
| 72 | 182.88 | ±0.41 | 90 | - | - | - | - | - | - |
| 80 | 203.2 | ±0.41 | 100 | 64 | 40 | - | - | - | - |
| 88 | 223.52 | ±0.41 | 110 | - | - | - | - | - | - |
| 90 | 228.6 | ±0.41 | - | 72 | 45 | - | - | - | - |
| 100 | 254 | ±0.41 | 125 | 80 | 50 | - | - | - | - |
| 110 | 279.4 | ±0.46 | - | 88 | 55 | - | - | - | - |
| 112 | 284.48 | ±0.46 | 140 | - | - | - | - | - | - |
| 120 | 304.8 | ±0.46 | - | 96 | 60 | - | - | - | - |
| 124 | 314.33 | ±0.46 | - | - | - | 33 | - | - | - |
| 124 | 314.96 | ±0.46 | 155 | - | - | - | - | - | - |
| 130 | 330.2 | ±0.46 | - | 104 | 65 | - | - | - | - |
| 140 | 355.6 | ±0.46 | 175 | 112 | 70 | - | - | - | - |
| 150 | 381 | ±0.46 | - | 120 | 75 | 40 | - | - | - |
| 160 | 406.4 | ±0.51 | 200 | 128 | 80 | - | - | - | - |
| 170 | 431.8 | ±0.51 | - | - | 85 | - | - | - | - |
| 180 | 457.2 | ±0.51 | 225 | 144 | 90 | - | - | - | - |
| 187 | 476.25 | ±0.51 | - | - | - | 50 | - | - | - |
| 190 | 482.6 | ±0.51 | - | - | 95 | - | - | - | - |
| 200 | 508 | ±0.51 | 250 | 160 | 100 | - | - | - | - |
| 210 | 533.4 | ±0.61 | - | - | 105 | 56 | - | - | - |
| 220 | 558.8 | ±0.61 | - | 176 | 110 | - | - | - | - |
| 225 | 571.5 | ±0.61 | - | - | - | 60 | - | - | - |
| 230 | 584.2 | ±0.61 | - | - | 115 | - | - | - | - |
| 240 | 609.6 | ±0.61 | - | - | 120 | 64 | 48 | - | - |
| 250 | 635 | ±0.61 | - | - | 125 | - | - | - | - |
| 255 | 647.7 | ±0.61 | - | - | - | 68 | - | - | - |
| 260 | 660.4 | ±0.61 | - | - | 130 | - | - | - | - |
| 270 | 685.8 | ±0.61 | - | - | - | 72 | 54 | - | - |
| 285 | 723.9 | ±0.61 | - | - | - | 76 | - | - | - |
| 300 | 762 | ±0.61 | - | - | - | 80 | 60 | - | - |
| 322 | 819.15 | ±0.66 | - | - | - | 86 | - | - | - |
| 330 | 838.2 | ±0.66 | - | - | - | - | 66 | - | - |
| 345 | 876.3 | ±0.66 | - | - | - | 92 | - | - | - |
| 360 | 914.4 | ±0.66 | - | - | - | - | 72 | - | - |
| 367 | 933.45 | ±0.66 | - | - | - | 98 | - | - | - |
| 390 | 990.6 | ±0.66 | - | - | - | 104 | 78 | - | - |
| 420 | 1066.8 | ±0.76 | - | - | - | 112 | 84 | - | - |
| 450 | 1143 | ±0.76 | - | - | - | 120 | 90 | - | - |
| 480 | 1219.2 | ±0.76 | - | - | - | 128 | 96 | - | - |
| 507 | 1289.05 | ±0.81 | - | - | - | - | - | 58 | - |
| 510 | 1295.4 | ±0.81 | - | - | - | 136 | 102 | - | - |
| 540 | 1371.6 | ±0.81 | - | - | - | 144 | 108 | - | - |
| 560 | 1422.4 | ±0.81 | - | - | - | - | - | 64 | - |
| 570 | 1447.8 | ±0.81 | - | - | - | - | 114 | - | - |
| 600 | 1524 | ±0.81 | - | - | - | 160 | 120 | - | - |
| 630 | 1600.2 | ±0.86 | - | - | - | - | 126 | 72 | - |
| 660 | 1676.4 | ±0.86 | - | - | - | - | 132 | - | - |
| 700 | 1778 | ±0.86 | - | - | - | - | 140 | 80 | 56 |
| 750 | 1905 | ±0.91 | - | - | - | - | 150 | - | - |
| 770 | 1955.8 | ±0.91 | - | - | - | - | - | 88 | - |
| 800 | 2032 | ±0.91 | - | - | - | - | 160 | - | 64 |
| 840 | 2133.6 | ±0.97 | - | - | - | - | - | 96 | - |
| 850 | 2159 | ±0.97 | - | - | - | - | 170 | - | - |
| 900 | 2286 | ±0.97 | - | - | - | - | 180 | - | 72 |
| 980 | 2489.2 | ±1.02 | - | - | - | - | - | 112 | - |
| 1000 | 2540 | ±1.02 | - | - | - | - | 200 | - | 80 |
| 1100 | 2794 | ±1.07 | - | - | - | - | 220 | - | - |
| 1120 | 2844.8 | ±1.12 | - | - | - | - | - | 128 | - |
| 1200 | 3048 | ±1.12 | - | - | - | - | - | - | 96 |
| 1250 | 3175 | ±1.17 | - | - | - | - | 250 | - | - |
| 1260 | 3200.4 | ±1.17 | - | - | - | - | - | 144 | - |
| 1400 | 3556 | ±1.22 | - | - | - | - | 280 | 160 | 112 |
| 1540 | 3911.6 | ±1.32 | - | - | - | - | - | 176 | - |
| 1600 | 4064 | ±1.32 | - | - | - | - | - | - | 128 |
| 1700 | 4318 | ±1.37 | - | - | - | - | 340 | - | - |
| 1750 | 4445 | ±1.42 | - | - | - | - | - | 200 | - |
| 1800 | 4572 | ±1.42 | - | - | - | - | - | - | 144 |
梯形齿同步带宽度bs系列
注:1.括号中逗号前后分别表示上偏差和下偏差。
2.本表的单位是mm。
3.括号中逗号前后分别表示上偏差和下偏差。
①极限偏差只适用于括号内的带型。
| 带宽 | 极限偏差 | 带型 | |||||||||||
|---|---|---|---|---|---|---|---|---|---|---|---|---|---|
| 代号 | 尺寸系列 | Lp<838.20 | Lp>838.20~1676.40 | Lp>838.20~1676.40 | Lp>1676.40 | Lp>1676.40 | MXL | XXL | XL | L | H | XH | XXH |
| 12 | 3 | (+0.5,-0.8) | - | - | - | - | MXL | XXL | - | - | - | - | - |
| 19 | 4.8 | (+0.5,-0.8) | - | - | - | - | MXL | XXL | - | - | - | - | - |
| 25 | 6.4 | (+0.5,-0.8) | - | - | - | - | MXL | XXL | XL | - | - | - | - |
| 31 | 7.9 | (+0.5,-0.8) | - | - | - | - | - | - | XL | - | - | - | - |
| 37 | 9.5 | (+0.5,-0.8) | - | - | - | - | - | - | XL | - | - | - | - |
| 50 | 12.7 | ±0.8 | (+0.8,-1.3) | (+0.8,-1.3) | - | - | - | - | - | L | - | - | - |
| 75 | 19.1 | ±0.8 | (+0.8,-1.3) | (+0.8,-1.3) | (+0.8,-1.3) | (+0.8,-1.3) | - | - | - | L | H | - | - |
| 100 | 25.4 | ±0.8 | (+0.8,-1.3) | (+0.8,-1.3) | (+0.8,-1.3) | (+0.8,-1.3) | - | - | - | L | H | - | - |
| 150 | 38.1 | ±0.8 | (+0.8,-1.3) | (+0.8,-1.3) | (+0.8,-1.3) | (+0.8,-1.3) | - | - | - | L | H | - | - |
| 200 | 50.8 | (+0.8,-1.3)(H)① | ±1.3(H) | ±0.48 | (+1.3,-1.5)(H) | ±0.48 | - | - | - | - | H | XH | XXH |
| 300 | 76.2 | (+1.3,-1.5)(H) | ±1.5(H) | ±0.48 | (+1.5,-2.0)(H) | ±0.48 | - | - | - | - | H | XH | XXH |
| 400 | 101.6 | - | - | ±0.48 | - | ±0.48 | - | - | - | - | - | XH | XXH |
| 500 | 127 | - | - | - | - | ±0.48 | - | - | - | - | - | - | XXH |